firsttime
About my Organization
Organization Type
Technology Innovators
Secondary Organization Type
Other
Overview
Snapshot
State of the Art Novel InFlowTech: ·1-Gearturbine / Reaction Turbine; Retrodynamic System, Rotary-Turbo, Similar of the Aeolipilie 10-70 AD. ·2-Imploturbocompressor / Impulse Turbine; Imploducted, 1 Moving Part System, Excellence Design 1 Compression
Year Founded
1991
Organization Overview

Featured Project Development - Latest InFlow Generation - State of the Art Novel Tech:


·1-Gearturbine, Reaction Turbine, Rotary-Turbo, ·2-Imploturbocompressor, Impulse Turbine, One Compression Step:


*Wordpress Blog State of the Art Novel InFlow Gearturbine Imploturbocompressor:


http://stateoftheartnovelinflowtech.blogspot.com


https://padlet.com/gearturbine/un2slbar3s94


*1-GEARTURBINE PROJECT, 

Reaction-Turbine System Type,

Rotary-Turbo-InFlow Tech, 

Atypical InFlow Thermodynamic, 

Technology Proposal Submission, 

Novel Fueled Motor Engine Type:


·State of the art Innovative concept Top system Higher efficient percent.*Power by bar, for Air-Planes, Sea-Boats, Land-Transport & Dynamic Power-Plant Generation.


-Have similar system of the Aeolipile Heron Steam device from Alexandria 10-70 AD.


https://www.youtube.com/watch?v=0cPo9Lf44TE


-YouTube; * Atypical New • GEARTURBINE / Retrodynamic = DextroRPM VS LevoInFlow + Ying Yang Thrust Way Type - Non Waste Looses 


·:8-X/Y Thermodynamic CYCLE - Way Steps

1)1-Compression / bigger

2)2-Turbo 1 cold

3)2-Turbo 2 cold

4)2-Combustion - circular motion flames / opposites

5)2-Thrust - single turbo & planetary gears / ying yang

6)2-Turbo 2 hot

7)2-Turbo 1 hot

8)1-Turbine / bigger


-With Retrodynamic Dextrogiro => vs <= Levogiro Phenomenon Effect. / Rotor-RPM VS InFlow / front to front.


-Non waste parasitic looses for; friction, cooling, lubrication & combustion. Like a Free-Wheel.


-3 points of power thrust; 1-flow way, 2-gear, 3-turbine. *Patent; Dic. 1991 IMPI Mexico #197187.


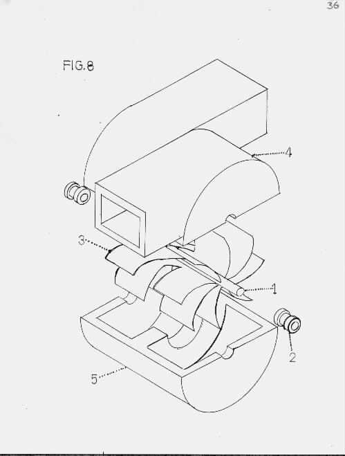
·2-IMPLOTURBOCOMPRESSOR; Impulse-Turbine System Type, Implo-Ducted, One Moving Part System Excellence Design - The InFlow Interaction comes from Macro-Flow and goes to Micro-Flow by Implossion - Only One Compression Step; Inflow.


·“Excellence in Design" because is only one moving part. Only one unique compression step. Inflow and out flow at the same one system, 


To see a Imploturbocompressor animation, is posible on a simple way, just to check the Hurricane Satellite view, and is the same implo inflow way nature.


Its prudent to mention that the curves and the inclinations of the blades of a rotating wing made of this invention, is conferred by its shape and function a structural rigidity.

Cleantech Product or Service Provided
  • Other
Cleantech Product or Service Sought
  • Other
Cleantech Product or Service Supported
  • Other
Commercial Stage of Technology Sought
Licensable Intellectual Property
Product Design Mature
Product Design is Complete
Industry
Mechanical or Industrial Engineering
Research
Business Category
None
Member of Partner Program(s)
None
Contact

1. To determine if your organization is in a DAC or LI zone,  enter your address in the map to search.

2. See references on Opportunity Zones here.

Location
Del Valle, Monterrey, NL, Mexico, 66220
Experience
Area of Expertise
Development
Emerging Technology
Research
Organization needs
We need to improve fundraising